Rysunek techniczny jest uniwersalnym językiem inżynierów, techników i projektantów. Umożliwia jednoznaczne przekazywanie informacji o kształcie, wymiarach i sposobie wykonania elementów. Jednym z jego podstawowych działów są konstrukcje geometryczne oraz rzuty, które stanowią fundament każdego poprawnego rysunku.
1. Konstrukcje geometryczne
Konstrukcje geometryczne to zestaw czynności graficznych, wykonywanych najczęściej przy pomocy linijki, cyrkla, ekierki i ołówka, których celem jest stworzenie dokładnych figur i zależności geometrycznych bez użycia pomiarów liczbowych. W rysunku technicznym mają one kluczowe znaczenie przy tworzeniu elementów o precyzyjnych kształtach i proporcjach.
Najczęściej stosowane konstrukcje geometryczne:
-
Podział odcinka na równe części – stosowany np. przy rozkładaniu otworów na powierzchni.
-
Równoległe i prostopadłe linie – podstawowe operacje służące do wyznaczania osi i krawędzi.
-
Dwusieczna kąta – wykorzystywana przy symetrycznym rozmieszczeniu elementów.
-
Okręgi styczne do prostych i innych okręgów – niezbędne przy projektowaniu łuków i zaokrągleń.
-
Konstrukcje wielokątów foremnych – stosowane np. w elementach mechanicznych i geometrycznych wzorach.
Każda konstrukcja geometryczna powinna być wykonana dokładnie, czysto i zgodnie z zasadami geometrii. Linia konstrukcyjna powinna być cienka i lekka, a linie ostateczne – ciemne i wyraźne.
2. Rzuty w rysunku technicznym
Rzutowanie to sposób przedstawienia trójwymiarowego przedmiotu na płaszczyźnie. Umożliwia pokazanie wszystkich niezbędnych cech elementu w sposób jednoznaczny i mierzalny. Dzięki rzutowaniu można uzyskać pełny obraz przedmiotu bez konieczności jego oglądania w rzeczywistości.
Rodzaje rzutów:
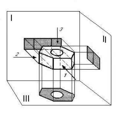
a) Rzut prostokątny (ortogonalny)
To najczęściej stosowany sposób przedstawiania przedmiotów technicznych. Polega na rzutowaniu elementu na płaszczyzny wzajemnie prostopadłe. Wyróżnia się trzy podstawowe rzuty:
-
rzut z przodu – pionowy,
-
rzut z góry – poziomy,
-
rzut z lewej strony – boczny.


Razem tworzą tzw. rzuty europejskie (I kąt) lub amerykańskie (III kąt) – w zależności od sposobu rozmieszczenia widoków. W Polsce obowiązuje metoda europejska, zgodna z normą PN-ISO 5456.
UWAGA!
W metodzie europejskiej (I kąt), która obowiązuje w Polsce zgodnie z normą PN-ISO 5456, rzut z lewej strony przedmiotu umieszcza się po prawej stronie rysunku.
Czyli:
-
Rzut z przodu – w środku (główny widok),
-
Rzut z góry – pod rzutem głównym,
-
Rzut z lewej strony – po prawej stronie rysunku,
-
Rzut z prawej strony – po lewej stronie rysunku.
To może wydawać się „odwrócone”, ale wynika z zasady, że rzut jest tworzony po drugiej stronie płaszczyzny rzutni (tak, jakby przedmiot znajdował się pomiędzy obserwatorem a płaszczyzną rzutni).
W metodzie amerykańskiej (III kąt) jest odwrotnie – rzuty umieszcza się po tej stronie, z której rzeczywiście patrzymy.
b) Rzut aksonometryczny
Rzut aksonometryczny to sposób przedstawienia przedmiotu w trzech wymiarach na płaskiej kartce.
Pokazuje on długość, szerokość i wysokość jednocześnie — dzięki temu przedmiot wygląda przestrzennie, ale zachowuje wymiary w określonej skali.
Nie jest to „prawdziwa” perspektywa, lecz geometryczne przedstawienie ułatwiające zrozumienie kształtu.
1. Izometria
To najczęściej stosowany rodzaj rzutu aksonometrycznego.
-
Wszystkie trzy osie (x, y, z) są nachylone pod jednakowym kątem 120°.
-
Skala na każdej osi jest taka sama.
-
Dzięki temu kształty nie są zniekształcone, a wymiary łatwo odczytać.
Przykład: rysunek sześcianu, gdzie wszystkie krawędzie mają taką samą długość.
2. Dimetria
W tym rzucie dwie osie (np. wysokość i głębokość) mają taką samą skalę, a trzecia inną.
-
Najczęściej stosuje się kąt 45° do poziomu.
-
Obiekt wygląda bardziej „naturalnie”, ale wymaga przeliczenia niektórych wymiarów.
Używana często w rysunkach technicznych maszyn i części, gdy potrzebna jest lepsza widoczność proporcji.

3. Trymetria
Tutaj każda z trzech osi ma inną skalę i inne nachylenie.
-
Dzięki temu można najlepiej oddać przestrzeń i kształt,
-
ale taki rzut jest trudny do wykonania i rzadko stosowany w praktyce technicznej.
Spotykany głównie w grafice komputerowej lub wizualizacjach 3D.
| Rodzaj rzutu | Liczba osi o tej samej skali | Wygląd | Zastosowanie |
|---|---|---|---|
| Izometria | 3 | najbardziej symetryczny | rysunki poglądowe, techniczne |
| Dimetria | 2 | lekko zniekształcony | części maszyn, urządzenia |
| Trymetria | 0 | najbardziej realistyczny | wizualizacje, projekty 3D |
c) Rzut perspektywiczny
Najbardziej zbliżony do naturalnego widzenia człowieka. W rysunku technicznym używany rzadko, głównie w ilustracjach, instrukcjach montażowych lub materiałach reklamowych.
3. Zasady wykonywania rzutów
-
Każdy rzut powinien być dokładny i proporcjonalny.
-
Rzuty muszą być wzajemnie powiązane, czyli te same punkty przedmiotu mają odpowiadać sobie na poszczególnych płaszczyznach.
-
Linie widoczne rysuje się linią ciągłą grubą, a niewidoczne – linią kreskową cienką.
-
Oś symetrii zaznacza się linią dwupunktową (kreska – kropka – kreska).
-
Wymiary umieszcza się tylko na jednym rzucie – tam, gdzie są najczytelniejsze.
4. Znaczenie konstrukcji geometrycznych i rzutów
Znajomość konstrukcji geometrycznych i zasad rzutowania jest niezbędna dla każdego ucznia kierunku technicznego. Dzięki nim można:
-
poprawnie odwzorować przedmioty trójwymiarowe,
-
czytać i tworzyć dokumentację techniczną,
-
rozwijać wyobraźnię przestrzenną,
-
stosować zasady norm PN-EN ISO w praktyce projektowej.
Podsumowanie
Konstrukcje geometryczne i rzuty stanowią podstawę rysunku technicznego. Pozwalają one przekształcić ideę lub koncepcję projektową w precyzyjny, jednoznaczny rysunek. Opanowanie tych umiejętności to pierwszy krok do dalszego rozwoju w dziedzinach takich jak mechanika, budownictwo, grafika techniczna czy inżynieria produkcji.
Was this helpful?
0 / 0