Zadanie z rysunku technicznego – wymiarowanie i modelowanie 3d elementu
Polecenie
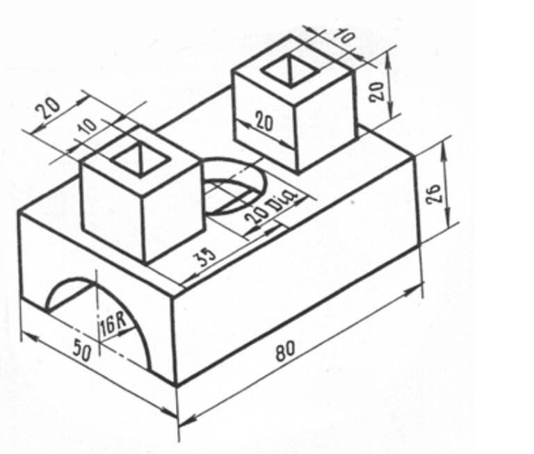
Na podstawie poniższego rzutu izometrycznego z wymiarami wykonaj model 3D oraz rysunek techniczny.
Pracę wykonaj w programie Autodesk Fusion 360.
Uwagi
- Zastanów się jak wykonać otwory?
- Wyeksportuj model 3D jako plik .stl oraz rysunek techniczny jako .pdf.
- Pliki nazwij: imie_nazwisko_rys_tech_cwicz_1_10 i zapisz w swoim folderze w chmurze Microsoft (OneDrive).
Was this helpful?
0 / 0
